本文
市川市土地開発公社
市川市土地開発公社の概要
| 1 | 公社の名称 | 市川市土地開発公社 | |
|---|---|---|---|
| 2 | 事務所の所在地 | 市川市八幡3丁目3番2-408号 | |
| 3 | 認可年月日 | 昭和50年7月7日(千葉県指令第1804号) | |
| 4 | 設立年月日 | 昭和50年7月18日 | |
| 5 | 出資金 | 1,000万円(全額市川市から出資) | |
| 6 | 設立主体 | 市川市 | |
| 7 | 設立目的 | この土地開発公社は、公共用地、公用地等の取得、管理、処分等を行うことにより、地域の秩序ある整備と市民福祉の増進に寄与することを目的とする。 | |
| 8 | 役員 | ||
| (令和7年6月17日現在) | 理事長 | 菊田 滋也 | |
| 副理事長 | 小川 広行 | ||
| 理事 | 中山 幸紀 | ||
| 理事 | 増田 好秀 | ||
| 理事 | 石崎 英幸 | ||
| 理事 | 湯本 明男 | ||
| 理事 | 小塚 眞康 | ||
| 理事 | 秋本 賢一 | ||
| 理事 | 遠山 忠 | ||
| 監事 | 嶋田 有吾 | ||
| 監事 | 岩井 滴 | ||
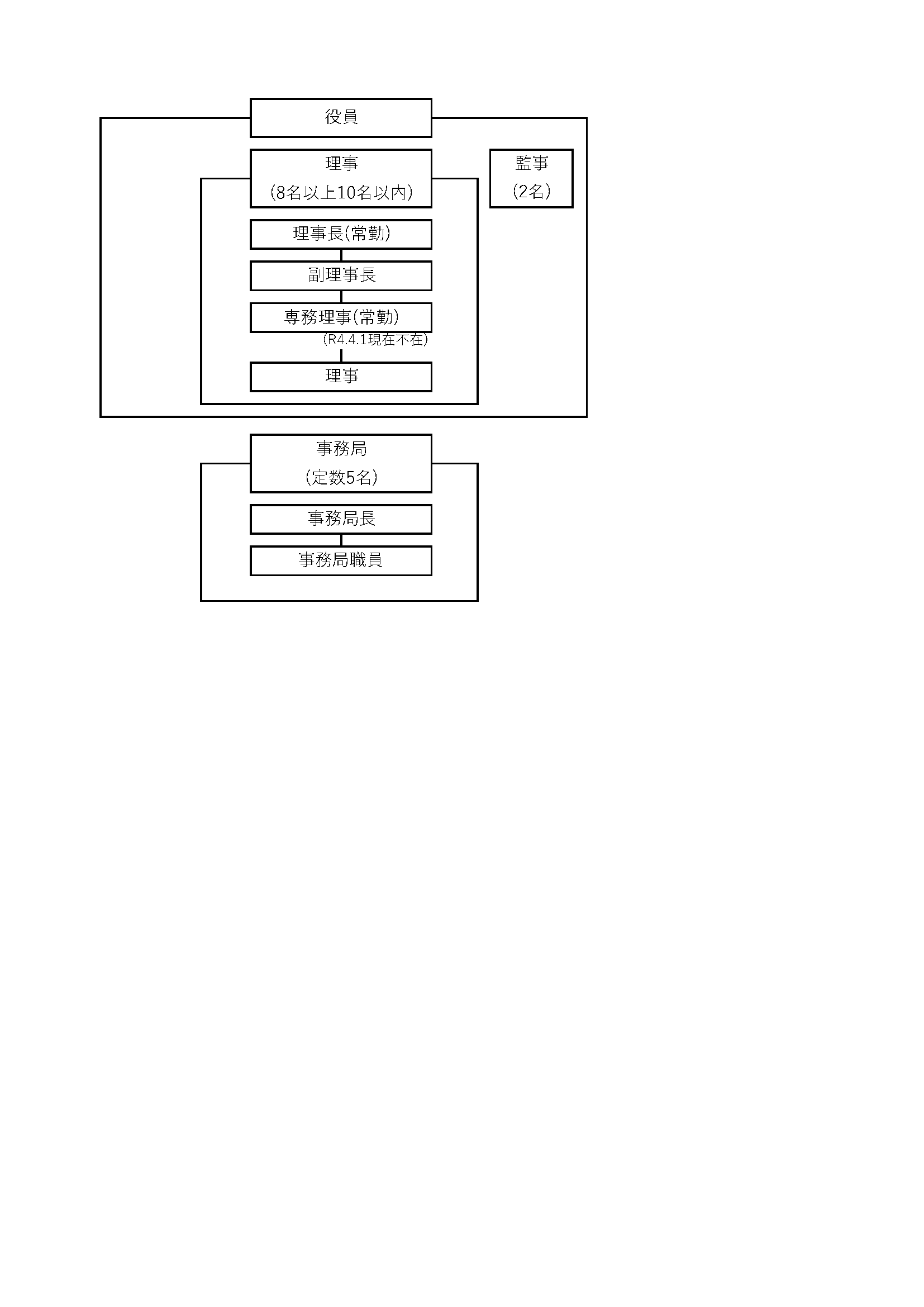
9 機構図

関連リンク
- 市川市土地開発公社 令和6年度事業計画 [PDFファイル/49KB]
- 市川市土地開発公社 令和5年度決算書 [PDFファイル/248KB]
- 市川市土地開発公社 令和5年度事業計画 [PDFファイル/51KB]
- 市川市土地開発公社 令和4年度決算書 [PDFファイル/611KB]
- 市川市土地開発公社 令和4年度事業計画 [PDFファイル/50KB]
- 市川市土地開発公社 令和3年度決算書 [PDFファイル/492KB]
- 市川市土地開発公社 令和3年度事業計画 [PDFファイル/111KB]
- 市川市土地開発公社 令和2年度決算書 [PDFファイル/1.93MB]
- 市川市土地開発公社 令和2年度事業計画 [PDFファイル/51KB]
- 市川市土地開発公社 令和元年度決算書 [PDFファイル/262KB]
- 市川市土地開発公社 令和元年度事業計画 [PDFファイル/72KB]
- 市川市土地開発公社 平成30年度決算書 [PDFファイル/192KB]
- 市川市土地開発公社 平成30年度事業計画 [PDFファイル/24KB]
- 市川市土地開発公社 平成29年度決算書 [PDFファイル/500KB]
- 市川市土地開発公社 定款 [PDFファイル/162KB]
市川市土地開発公社の業務内容
市川市土地開発公社は、「公有地の拡大の推進に関する法律」に基づき、市川市に代わって土地の先行取得を行うこと等の業務を行います。
『主な業務内容』
次に掲げる土地の取得、造成、その他の管理及び処分等を行います。
- 公有地の拡大の推進に関する法律第4条第1項又は第5条第1項に規定する土地
- 道路、公園、緑地、その他の公共施設又は公用施設の用に供する土地
- 公営企業の用に供する土地
- 都市計画法第4条第7項に規定する市街地開発事業その他政令で定める事業の用に供する土地
市川市土地開発公社のご案内
住所:市川市八幡3丁目3番2-408号 グランドターミナルタワー本八幡
電話:047-325-0142
Fax:047-325-0146
京成本線京成八幡駅1番出口から徒歩1分
JR総武線本八幡駅北口から徒歩2分
都営新宿線本八幡駅A4a出口から徒歩1分





